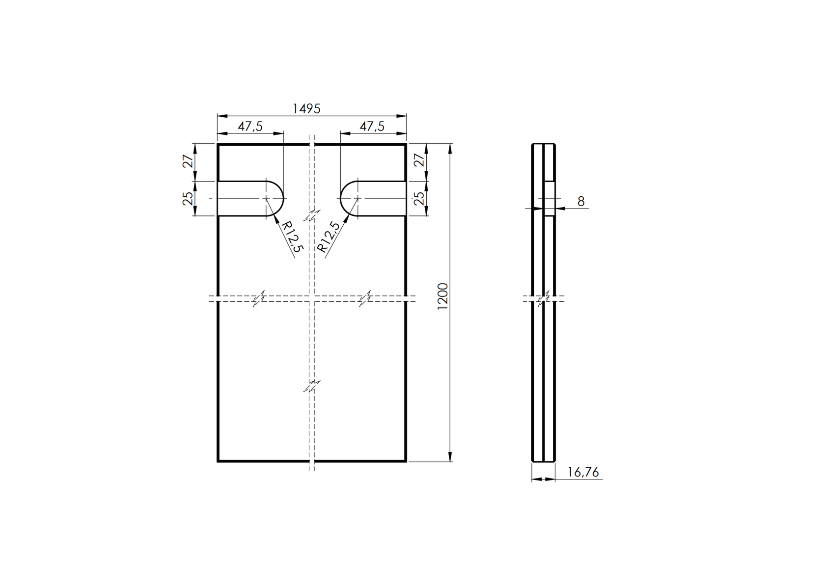
Material: Glass, Surface finish: Hardened, Glass t: 16,76, Effect: Clear, a: 1200, b: 1495, Quality: VSG/TVG
For more information, please contact our sales:
Share:
Tradition over 30 years
Wide net of partners
Many products in stock
Fast delivery of goods